Вы здесь: Главная / Институт / Научные достижения / Основные достижения 2003 г. / Исследования по разработке принципиально новых технологий обогащения полезных ископаемых

Исследования по разработке принципиально новых технологий обогащения полезных ископаемых

В лаборатории магнетизма горных пород проводятся исследования по разработке принципиально новых технологий обогащения полезных ископаемых по железу, цветным и благородным металлам методами магнитной сепарации. Изготовлено несколько новых типов лабораторных демонстрационных сепараторов, позволяющих изучать физику процессов взаимодействия тонкодисперсных магнитных частиц в высокоградиентных магнитных полях, производить высокоселективное их разделение, отработать различные методики сепарации и разделения, подготовить документацию для изготовления полупромышленных образцов магнитных сепараторов- анализаторов.

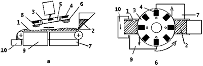
На рисунке представлен схематический вид сепаратора ( а- вид сбоку, б-с верху).

2003_3.gif

Над лентой транспортера 1 с сепарируемым материалом 2 вращается диск 3 с постоянными магнитами 4 ( Nd-Fe-B ) с чередующейся магнитной полярностью и разгрузочным диском 5. При приближении сепарируемого продукта к магнитной системе под действием знакопеременного магнитного поля происходит разрушение магнитных флокул. Мономинеральные магнитные частицы притягиваются к нижней поверхности диска 6 и центробежной силой отбрасываются в бункер 7. Оставшиеся на транспортере частицы с более низкой удельной магнитной восприимчивостью притягиваются к про-тивоположной стороне диска 8 и отбрасываютя в бункер 9, а немагнитная фракция поступает в бункер 10. Изменяя наклон вращающейся магнитной системы, ее расстояние до транспортера, а также расстояние между магнитами и разгрузочным диском появляется возможность получать суперконцентраты, разделять тонкодисперсные порошковые материалы на составляющие магнитные фракции с высокой степенью селективности.

Патенты: 1. 2149702; 2. 2149703; 3. 2158185; 4. 2170620; 5. 2183997; 6. 2209685.

Лаборатория магнетизма горных пород